






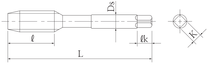
나사의 종류 : PS 단위 : ㎜
| 공구 No. EDP No. |
규격Thread Size | 정도TAP Limit | 전장L | 날장ℓ | 생크경Ds | 각부장ℓk | 각부폭K | 홈수Flutes |
|---|---|---|---|---|---|---|---|---|
| 201311 | 1/8 - 28 | JIS2 | 55 | 17 | 8 | 9 | 6 | 3 |
| 201312 | 1/4 - 19 | JIS2 | 62 | 20 | 11 | 12 | 9 | 3 |
| 201313 | 3/8 - 19 | JIS2 | 65 | 21 | 14 | 14 | 11 | 3 |
| 201314 | 1/2 - 14 | JIS2 | 80 | 27 | 18 | 17 | 14 | 4 |
| 201316 | 3/4 - 14 | JIS2 | 85 | 30 | 23 | 20 | 17 | 4 |
| 201318 | 1" - 11 | JIS2 | 95 | 35 | 26 | 24 | 21 | 4 |
| 201319 | 1 1/4 - 11 | JIS2 | 105 | 38 | 32 | 30 | 26 | 4 |
| 20131A | 1 1/2 - 11 | JIS2 | 110 | 39 | 38 | 32 | 29 | 4 |
| 20131B | 2" - 11 | JIS2 | 120 | 40 | 46 | 38 | 35 | 4 |
| 20131C | 2 1/2 - 11 | JIS2 | 145 | 47 | 55 | 44 | 41 | 6 |
| 20131D | 3" - 11 | JIS2 | 155 | 51 | 65 | 52 | 50 | 8 |
국내 유일의 국산화 실현 기업, 국내 최고의 탭 전문 기업!에스비코리아!최대한 신속하게 연락드리겠습니다.
제품주문